| 索引号: | NB00201020100/202210-00005 | 信息分类: | 政府采购合同备案 |
|---|---|---|---|
| 内容分类: | 发布日期: | 2022-10-08 11:18 | |
| 发布机构: | 寿县发改委(粮食和物资储备局、公共资源交易监督管理局) | 成文日期: | |
| 生效时间: | 废止时间: | ||
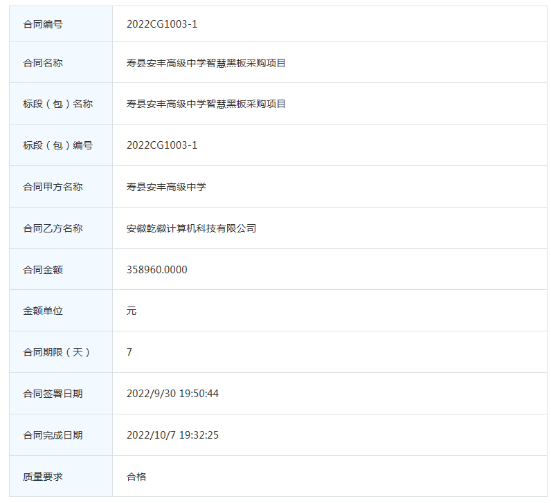
| 名称: | 寿县安丰高级中学智慧黑板采购项目 | 点击量: | |
| 文号: | 关键词: |
| 索引号: | NB00201020100/202210-00005 |
|---|---|
| 信息分类: | 政府采购合同备案 |
| 内容分类: | |
| 发布日期: | 2022-10-08 11:18 |
| 发布机构: | 寿县发改委(粮食和物资储备局、公共资源交易监督管理局) |
| 成文日期: | |
| 生效时间: | |
| 有效性: | |
| 名称: | 寿县安丰高级中学智慧黑板采购项目 |
| 点击量: | |
| 文号: | |
| 关键词: |



皖公网安备 34042202000005号